¿Cuál es la aplicación del secado por atomización en la industria farmacéutica?
Nov 07, 2024|
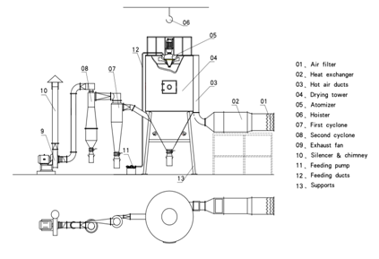
Tiempo de lectura:577Secado por aspersión en la industria farmacéuticaEs una técnica versátil y ampliamente aplicada que ha revolucionado la forma en que se formulan y se administran los medicamentos. Este proceso implica convertir soluciones, suspensiones o emulsiones en polvos secos en un solo paso mediante la atomización de la materia prima en un medio de gas de secado caliente. A continuación, se presentan algunas aplicaciones y beneficios clave del secado por aspersión en la industria farmacéutica:
1. Dispersiones sólidas amorfas
Una de las aplicaciones más importantes del secado por pulverización en la industria farmacéutica es la producción de dispersiones sólidas amorfas (ASD). Estas dispersiones se utilizan para mejorar la solubilidad y la biodisponibilidad de fármacos poco solubles en agua. Al secar por pulverización un fármaco con un polímero, se puede crear una dispersión amorfa estable, que mejora la velocidad de disolución y, en consecuencia, la biodisponibilidad del ingrediente farmacéutico activo (API).

2. Enmascaramiento del sabor
El secado por aspersión también se utiliza para enmascarar el sabor, en particular en el caso de medicamentos inhalados, como la insulina en polvo y las formulaciones de liberación controlada. Esta técnica permite a los fabricantes encapsular el principio activo y los excipientes biodegradables, enmascarando así el sabor sin comprometer la liberación del medicamento.
3. Formulaciones de liberación modificada
El secado por aspersión permite la creación de formulaciones de liberación sostenida o modificada mediante la encapsulación del fármaco. Esto puede resultar beneficioso para diversas clases de fármacos, ya que reduce los requisitos de dosificación y minimiza los efectos secundarios al suavizar los picos de concentración del fármaco.
4. Fabricación aséptica
El secado por aspersión ofrece ventajas sobre otras técnicas de fabricación aséptica, como la liofilización. Proporciona un mayor control sobre el proceso y la forma final del producto, lo que resulta especialmente útil para los fármacos que requieren una fabricación aséptica. El API se combina con excipientes de la misma distribución de tamaño de partícula, creando partículas estériles sin riesgo de contaminación.
5. Producción de polvos finos
El secado por aspersión se utiliza para producir polvos finos, que son esenciales para medicamentos que requieren una dosificación precisa y uniforme. Estos polvos se pueden utilizar en varios sistemas de administración de medicamentos, incluidos los medicamentos inhalables y las microcápsulas.
6. Mejora de la biodisponibilidad
Muchos compuestos terapéuticos son estables en forma cristalina, pero tienen una solubilidad en agua y una velocidad de disolución deficientes, lo que reduce su biodisponibilidad. El secado por aspersión puede crear dispersiones amorfas y estables que mejoran la velocidad de disolución y, por lo tanto, la biodisponibilidad.

7. Encapsulación y protección
El secado por aspersión se utiliza para encapsular fármacos, protegiéndolos de los factores ambientales y mejorando su estabilidad. Esto es particularmente útil para los principios activos sensibles a la temperatura y difíciles de cristalizar.
8. Medicamentos inhalables
La producción de medicamentos inhalables, como la insulina inhalada, ha sido posible gracias al secado por aspersión. Esta técnica permite la creación de polvos que se pueden inhalar, lo que proporciona un método no invasivo de administración de medicamentos.
9. Ingeniería de partículas
El secado por aspersión se utiliza como una plataforma de ingeniería de partículas, que permite la manipulación y el control de las propiedades de las partículas, como la distribución del tamaño, la forma, la densidad, la fluidez, el contenido de humedad, la cristalinidad y la dispersabilidad.
10. Eficiencia en costos y tiempo
En comparación con otras técnicas de secado, el secado por aspersión ofrece un ahorro significativo de tiempo y costos, especialmente en el procesamiento de biomoléculas grandes. Es una técnica de bajo costo, escalable y consistente para formular medicamentos de moléculas pequeñas de baja solubilidad mediante la preparación de dispersiones sólidas amorfas.
En conclusión,Secado por aspersión en la industria farmacéuticaEl secado por aspersión se ha convertido en una técnica indispensable que ofrece numerosas ventajas, como una biodisponibilidad mejorada, enmascaramiento del sabor, liberación modificada, fabricación aséptica e ingeniería de partículas. A medida que la industria continúa evolucionando, es probable que el secado por aspersión desempeñe un papel crucial en el desarrollo de nuevos sistemas y formulaciones de administración de fármacos.






