¿Cuáles son los tipos de máquinas de secado por pulverización?
Aug 23, 2024|
Tiempo de lectura:902La máquina de secado por aspersión es un equipo de secado de alta eficiencia que convierte materiales líquidos en polvo o gránulos. Se utiliza ampliamente en industrias como la alimentaria, la farmacéutica, la química y la ciencia de los materiales. A continuación, se detallan los principales tipos de secadores por aspersión y las ventajas de elegir Jinqiao Factory como punto de compra.
Tipos de máquinas de secado por atomización:
Secador por pulverización a presión:
Utilice una bomba de alta presión para atomizar materiales líquidos en gotas finas a través de una boquilla.
Adecuado para materiales con baja viscosidad, como productos lácteos, jugos, etc.
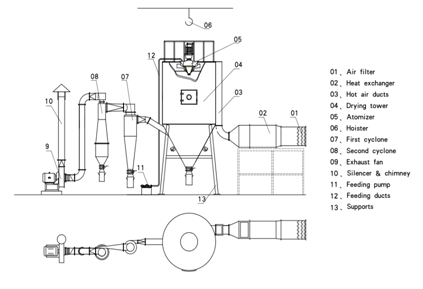
Secador por aspersión centrífugo:
Utilice un disco atomizador giratorio de alta velocidad para atomizar el material.
Adecuado para materiales con viscosidad media, ampliamente utilizado en la industria química y alimentaria.
Secador por pulverización neumático:
El material se atomiza y se seca mediante un flujo de aire caliente de alta velocidad.
Adecuado para materiales sensibles al calor como extractos de café y ciertos medicamentos.
Máquina de secado por pulverización de disco rotatorio:
El material se atomiza y se seca en un disco giratorio.
Adecuado para materiales que requieren una gran superficie para mejorar la eficiencia del secado.

Secador de torre de pulverización:
El material se atomiza en la corriente de aire ascendente y se seca en el descenso.
Adecuado para producción a gran escala con bajo consumo energético.
Máquina de secado por aspersión para laboratorio:
Pequeña escala, adecuado para I+D y producción a pequeña escala.
Conveniente para experimentos y caracterización de materiales.
Máquina de secado por pulverización de baja temperatura:
Diseñado para secar materiales sensibles al calor a temperaturas más bajas para mantener sus ingredientes activos.
Secador por congelación por aspersión:
Combina tecnología de pulverización y liofilización, adecuado para la producción de productos biológicos de alto valor.
Ventajas de elegir la fábrica Jinqiao:
Tecnología avanzada: La fábrica Jinqiao puede tener tecnología avanzada de secado por aspersión, que puede proporcionar soluciones de secado eficientes y que ahorran energía.
Servicio de personalización: La fábrica Jinqiao puede proporcionar servicios de diseño de máquinas de secado por aspersión personalizados para cumplir con los requisitos específicos de materiales y procesos.

Garantía de calidad: La fábrica Jinqiao puede tener un estricto sistema de control de calidad para garantizar la confiabilidad y durabilidad del equipo.
Equipo profesional: La fábrica Jinqiao puede tener un equipo técnico experimentado para brindar soporte técnico profesional y servicio posventa de la máquina de secado por aspersión.
Ubicación geográfica: El área de Jinqiao puede tener una ubicación geográfica y una red de transporte superiores, lo que es conveniente para el transporte logístico y el acceso de los clientes.
Clúster industrial: el área de Jinqiao puede ser un clúster industrial maduro con una cadena de suministro completa y servicios de apoyo.
Apoyo político: La fábrica Jinqiao puede beneficiarse de las políticas preferenciales del gobierno local, como exenciones de impuestos, apoyo financiero, etc.
Reputación de la marca: Es posible que la fábrica Jinqiao haya establecido una buena reputación de marca, y elegir un fabricante de este tipo puede aumentar la confianza de compra.
Capacidad de innovación: La fábrica de Jinqiao puede tener una fuerte capacidad de innovación, lanzando constantemente nuevas tecnologías y nuevos productos para satisfacer los cambios del mercado.
Respeto al medio ambiente: la fábrica de Jinqiao puede prestar atención a la protección del medio ambiente, y el secador por aspersión que produce cumple con los requisitos de conservación de energía y reducción de emisiones.
Al elegir la fábrica Jinqiao para comprar una máquina de secado por aspersión, no solo se puede obtener un equipo de alta calidad, sino también disfrutar de servicios y soporte profesionales para garantizar el progreso sin problemas del proceso de producción. Al mismo tiempo, la ubicación geográfica y las ventajas del clúster industrial de la fábrica Jinqiao también brindan condiciones convenientes para la cooperación a largo plazo.
Al elegir una máquina de secado por aspersión, además de considerar el tipo de equipo y las ventajas del proveedor, también es necesario realizar una evaluación integral basada en las necesidades de producción reales, las características del material, los requisitos de capacidad de producción, los estándares de consumo de energía y los factores presupuestarios para garantizar que el equipo comprado pueda satisfacer las necesidades de desarrollo a largo plazo de la empresa.






